ソニー・インタラクティブエンタテインメントが、ゲーム内で難しいシーンに直面したプレイヤーをリアルタイムでサポートする「AIゴーストプレーヤー」関連特許を出願したことが明らかになりました。
PlayStation Networkに公開された過去のプレイデータ、TwitchやYouTubeなどストリーミングサービス、SNSに公開されたゲームプレイ映像、インターネット上のゲーム関連コンテンツからAIが学習し、AIがプレイヤーの操作を代行したり、個別にカスタマイズされたコーチングを提供することを目指しているようです。
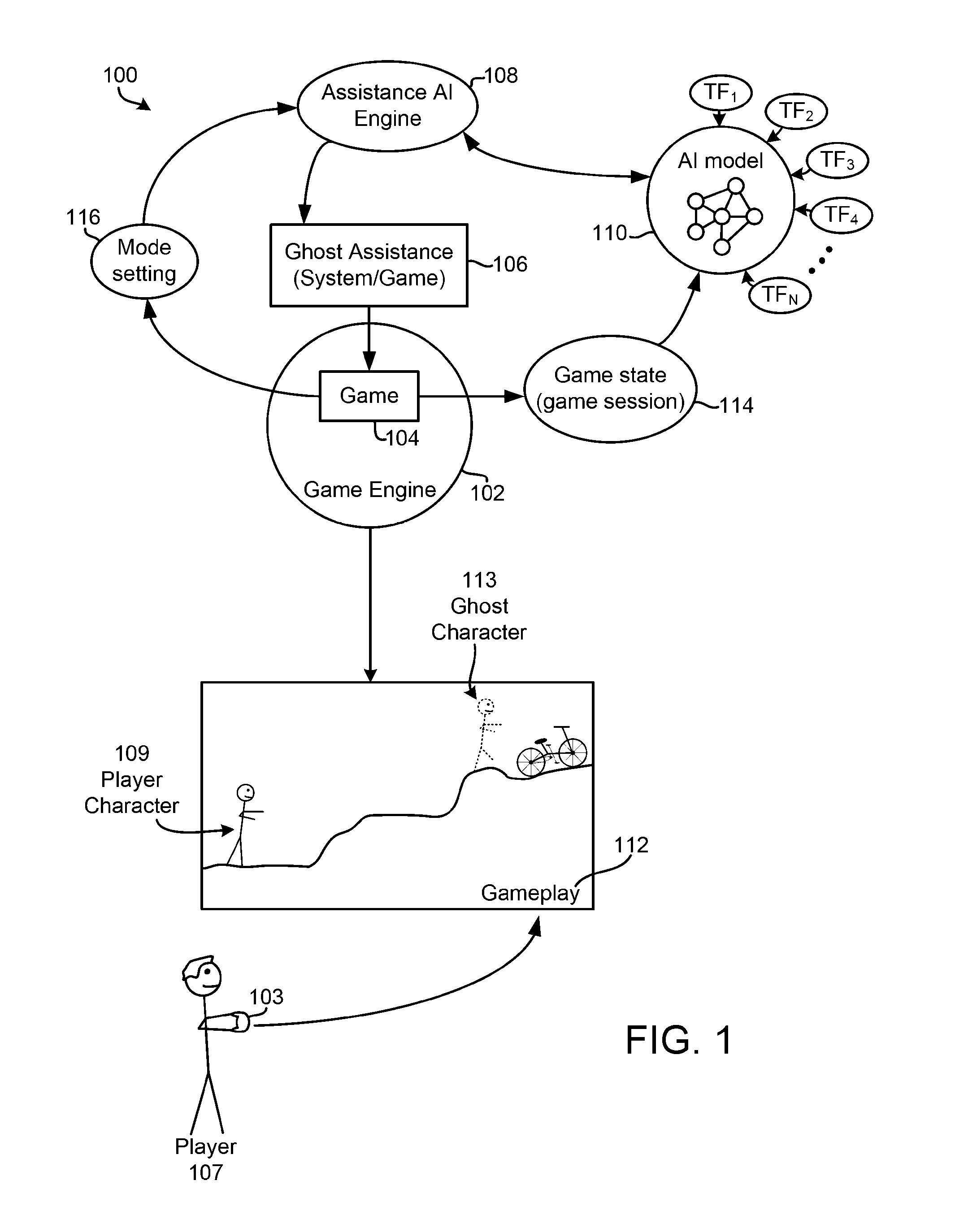
基本モードには「ガイドモード」と「コンプリートモード」の2つがあり、「ガイドモード」では、ゴーストキャラクターがゲームの進行方法を視覚的に表示し、プレイヤーはこれを見て追いつく形式。一方、「コンプリートモード」では、ゴーストキャラクターが実際にゲーム内タスクを完了してプレイヤーに代わってゲームを進行させることができるという。また、これら2つのモードに加えてスタイル別モードも4つが検討されているようです。
そのほか、ゴーストキャラクターとの会話機能も搭載。アウトライン表示、シャドウ表示、アニメーション化されたキャラクター、映画キャラクターやゲームキャラクター、プレイヤー自身のカスタムキャラクターが表示が可能、プレイヤーが音声で「川をどのように飛び越えますか?」のような質問を投げかけると、キャラクターが言葉で説明したり、実際の動作を実演する例が示されています。
現在は、コミュニティーゲームヘルプ機能で、他プレイヤーのゲームプレイが自動的にキャプチャーされ、困ったシーンではヒントが確認できますが、今後は、AIが操作して、クリアしてくれる機能が追加されるかもしれませんね。

雑食ゲーマー。夜な夜なゲームしてたりします。
クリアしたゲームより、積んでるゲームのほうが多いです。




